精科QSX-17抗穿孔性仪是一款专用于测试PVC防水卷材抗穿孔性能的专业仪器,符合国家标准GB12952—91的规定。该设备通过重锤自由下落冲击试样,评估材料在实际使用中抵抗尖锐物体穿刺的能力,广泛应用于防水材料的质量检测与生产控制环节。
仪器采用直径为12.7mm的钢球作为冲击头,配合长度为500mm的带刻度导管,确保测试高度精确可控。结构设计紧凑坚固,操作简便,结果可靠,是防水卷材性能评估的关键工具。
✓ 符合国标规范:严格按照GB12952—91标准设计制造,确保测试结果具有权威性和可比性。
✓ 精准导向系统:配备带刻度的导管和定位标,可准确设定重锤下落高度,提升测试重复性与准确性。
✓ 模块化控制器组件:由控制器上盖、下底、弹簧、滑块及控制螺钉组成,实现重锤稳定释放,操作安全可靠。
✓ 直观结构布局:整机结构清晰,部件分工明确,便于日常维护与操作培训。
1. 标准化抗穿孔测试功能
通过将重锤提升至指定高度并释放,使其自由下落撞击冲杆,模拟外界尖锐物对PVC防水卷材的穿刺过程,从而判断材料是否具备足够的抗穿孔能力。
2. 可调冲击高度设计
利用定位标与带刻度导管配合,可精确设定重锤起始位置,满足不同测试条件下的高度需求,保证实验的一致性与可重复性。
3. 安全可靠的控制器机制
控制器组件通过控制螺钉与弹簧联动,实现重锤的锁定与释放。按下控制螺钉后,挂钩脱离,重锤瞬间自由下落,动作灵敏且无卡滞。
4. 易于观察与更换试样
测试完成后可轻松提升重锤与冲杆,取出试样板进行穿孔情况检查,支持连续多批次样品快速检测。
| 项目 | 参数 |
|---|---|
| 钢球直径 | 12.7mm |
| 导管长度 | 500mm |
| 符合标准 | GB12952—91 |
| 其中控制器组件有 | (1)控制器下底 (2)控制器螺钉 (3)控制器弹簧 (4)控制器上盖 (5)控制器滑块 (6)控制螺钉 |
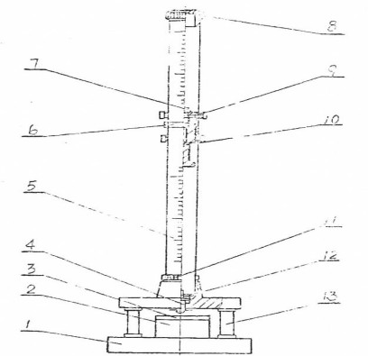
QSX-17抗穿孔性仪结构图

(1)底座
(2)垫块
(3)垫板
(4)冲杆
(5)带刻度的导管
(6)定位标
(7)挂钩
(8)上盖
(9)控制器组件
(10)重锤
(11)锁管螺栓
(12)压板
(13)支柱所
QSX-17抗穿孔性仪外观图

A:该仪器符合国家标准GB12952—91的规定。
A:钢球直径为12.7mm。
A:导管长度为500mm,并配有刻度,便于精确调节下落高度。
A:控制器组件包括:(1)控制器下底 (2)控制器螺钉 (3)控制器弹簧 (4)控制器上盖 (5)控制器滑块 (6)控制螺钉。
A:主要用于测试PVC防水卷材的抗穿孔性能。








1、首先客户需要确认产品品牌、产品型号、产品货号、产品规格、参数、货期等;
2、其次确认产品旳使用须知,买卖双方信息相互,确认收货和收票地址;
3、科研仪器设备属于精密仪器,非产品质量问题本公司不做退换货处理,购买时请再三确认;
4、小型仪器退换货要求确保仪器未拆箱、未通电、未使用、附件包装完好无损不影响二次销售,联系客服人员处理退换货事宜;
5、退换货要求产品外包装套纸箱,禁止无包装发货,拒收到付;

